Amazon se ha convertido en el rey de las compras en internet. Sin embargo, la compañía estadounidense quiere ir más allá y formar grandes edificios desde donde lanzar los drones de reparto.
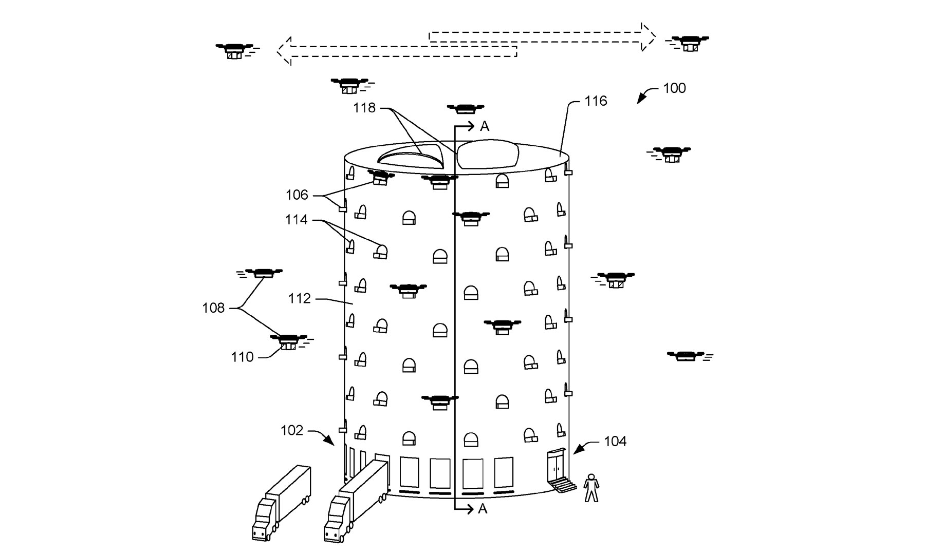
La época de los envíos tradiciones parece que va a terminar en poco tiempo. Amazon lleva tiempo buscando alternativas y ha decidido volcarse en los drones como el método de envío. La compañía ha patentado una especie de colmena que organizaría el envío de los paquetes en las ciudades.
A finales del año pasado se completaba un gran objetivo para la compañía: entregar el primer paquete a través de su servicio Amazon prime air, que consiguió trasladar de forma totalmente automática un paquete a un cliente ¡Así fue el proceso!
https://www.youtube.com/watch?v=Ps_WgmBnLuo
Otro de los caminos que ha oteado la multinacional fue la creación de grandes zeppelins como grandes centros de almacenaje que sobrevolarían las ciudades. ¿Habrán preferido optar por las colmenas antes del almacén volante?
En un primer momento suena como una gran opción, pero en nuestro país es una solución muy difícil. A día de hoy, los drones tienen una gran limitación en cuanto a peso que pueden soportar y las distancias que pueden cubrir. Además, la recepción del producto con el dron necesita una superficie libre bastante extensa y nunca podría ser repartido en un bloque de pisos.
Otras noticias que pueden interesarte:
Enrique Iglesias ¡el ataque del dron!
14 canciones que demuestran que las ciudades también se cantan
Las ciudades más baratas para viajes de última hora en verano
© Sociedad Española de Radiodifusión, S.L.U. 2026. Todos los derechos reservados
© Quedan reservados todos los derechos tanto sobre programas radiofónicos y las obras y prestaciones que formen parte de ellos, como sobre los contenidos publicados en esta página web. Sociedad Española de Radiodifusión SLU ejerce la oposición expresa frente al uso de sus obras y prestaciones en la elaboración de revistas de prensa prevista en el artículo 32.1 del TRLPI. Sociedad Española de Radiodifusión SLU realiza la reserva expresa frente la reproducción, distribución y comunicación pública de sus trabajos y artículos sobre temas de actualidad prevista en el artículo 33.1 del TRLPI, asimismo, también realiza una reserva expresa de las reproducciones y usos de las obras y otras prestaciones accesibles desde este sitio web a medios de lectura mecánica u otros medios que resulten adecuados a tal fin de conformidad con el artículo 67.3 del Real Decreto - ley 24/2021, de 2 de noviembre, así como frente a cualquier utilización de sus contenidos por tecnologías de inteligencia artificial, sea cual sea su naturaleza y finalidad.